For further details of any part please click the relevant part number.

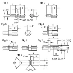
FigureBasic Part No.LBoard ThicknessL1ABCDD1D2D3FMfg. Hole Diameter
140-2089-11.035 (0.89).016 (0.40)-.156 (3.96).068 (1.73).031 (0.79).062 (1.57).047 (1.19).026 (0.66).047 (1.19).025 (0.64).052 (1.32)
140-2089-01.051 (1.30).031 (0.79)-.156 (3.96).068 (1.73).031 (0.79).062 (1.57).047 (1.19).026 (0.66).047 (1.19).025 (0.64).052 (1.32)
140-2089-02.082 (2.08).062 (1.57)-.156 (3.96).068 (1.73).031 (0.79).062 (1.57).047 (1.19).026 (0.66).047 (1.19).025 (0.64).052 (1.32)
140-2089-03.113 (2.87).094 (2.39)-.156 (3.96).068 (1.73).031 (0.79).062 (1.57).047 (1.19).026 (0.66).047 (1.19).025 (0.64).052 (1.32)
140-2089-04.145 (3.68).125 (3.18)-.156 (3.96).068 (1.73).031 (0.79).062 (1.57).047 (1.19).026 (0.66).047 (1.19).025 (0.64).052 (1.32)
140-1019-11.035 (0.89).016 (0.40)-.156 (3.96).068 (1.73).031 (0.79).072 (1.83).047 (1.19).026 (0.66).057 (1.45).028 (0.71).052 (1.32)
140-1019-01.051 (1.30).031 (0.79)-.156 (3.96).068 (1.73).031 (0.79).072 (1.83).047 (1.19).026 (0.66).057 (1.45).028 (0.71).052 (1.32)
140-1019-02.082 (2.08).062 (1.57)-.156 (3.96).068 (1.73).031 (0.79).072 (1.83).047 (1.19).026 (0.66).057 (1.45).028 (0.71).052 (1.32)
140-1019-03.113 (2.87).094 (2.39)-.156 (3.96).068 (1.73).031 (0.79).072 (1.83).047 (1.19).026 (0.66).057 (1.45).028 (0.71).052 (1.32)
140-1019-04.145 (3.68).125 (3.18)-.156 (3.96).068 (1.73).031 (0.79).072 (1.83).047 (1.19).026 (0.66).057 (1.45).028 (0.71).052 (1.32)
FigureBasic Part No.LBoard ThicknessL1ABCDD1D2D3FMfg. Hole Diameter
140-1018-11.035 (0.89).016 (0.40)-.094 (2.39).068 (1.73)-.072 (1.83).047 (1.19).026 (0.66)-.028 (0.71).052 (1.32)
140-1018-01.051 (1.30).031 (0.79)-.094 (2.39).068 (1.73)-.072 (1.83).047 (1.19).026 (0.66)-.028 (0.71).052 (1.32)
140-1018-02.082 (2.08).062 (1.57)-.094 (2.39).068 (1.73)-.072 (1.83).047 (1.19).026 (0.66)-.028 (0.71).052 (1.32)
140-1018-03.113 (2.87).094 (2.39)-.094 (2.39).068 (1.73)-.072 (1.83).047 (1.19).026 (0.66)-.028 (0.71).052 (1.32)
140-1018-04.145 (3.68).125 (3.18)-.094 (2.39).068 (1.73)-.072 (1.83).047 (1.19).026 (0.66)-.028 (0.71).052 (1.32)
FigureBasic Part No.LBoard ThicknessL1ABCDD1D2D3FMfg. Hole Diameter
140-1785-11.025 (0.64).016 (0.40)-.156 (3.96).093 (2.36)-.094 (2.39).062 (1.57).043 (1.09)-.026 (0.66).067 (1.70)
140-1785-01.045 (1.14).031 (0.79)-.156 (3.96).093 (2.36)-.094 (2.39).062 (1.57).043 (1.09)-.026 (0.66).067 (1.70)
140-1785-02.094 (2.39).062 (1.57)-.156 (3.96).093 (2.36)-.094 (2.39).062 (1.57).043 (1.09)-.026 (0.66).067 (1.70)
140-1785-03.125 (3.18).094 (2.39)-.156 (3.96).093 (2.36)-.094 (2.39).062 (1.57).043 (1.09)-.026 (0.66).067 (1.70)
140-1785-04.156 (3.96).125 (3.18)-.156 (3.96).093 (2.36)-.094 (2.39).062 (1.57).043 (1.09)-.026 (0.66).067 (1.70)
140-1941-11.025 (0.64).016 (0.40)-.156 (3.96).094 (2.39)-.094 (2.39).071 (1.80).046 (1.17)-.029 (0.74).076 (1.93)
140-1941-01.045 (1.14).031 (0.79)-.156 (3.96).094 (2.39)-.094 (2.39).071 (1.80).046 (1.17)-.029 (0.74).076 (1.93)
140-1941-02.094 (2.39).062 (1.57)-.156 (3.96).094 (2.39)-.094 (2.39).071 (1.80).046 (1.17)-.029 (0.74).076 (1.93)
140-1941-03.125 (3.18).094 (2.39)-.156 (3.96).094 (2.39)-.094 (2.39).071 (1.80).046 (1.17)-.029 (0.74).076 (1.93)
140-1941-04.156 (3.96).125 (3.18)-.156 (3.96).094 (2.39)-.094 (2.39).071 (1.80).046 (1.17)-.029 (0.74).076 (1.93)
FigureBasic Part No.LBoard ThicknessL1ABCDD1D2D3FMfg. Hole Diameter
140-1385-11.025 (0.64).016 (0.40).040 (1.02).156 (3.96).093 (2.36)-.094 (2.39).062 (1.57).043 (1.09)-.025 (0.64).067 (1.70)
140-1385-01.045 (1.14).031 (0.79).040 (1.02).156 (3.96).093 (2.36)-.094 (2.39).062 (1.57).043 (1.09)-.025 (0.64).067 (1.70)
140-1385-02.094 (2.39).062 (1.57).062 (1.57).156 (3.96).093 (2.36)-.094 (2.39).062 (1.57).043 (1.09)-.025 (0.64).067 (1.70)
140-1385-03.125 (3.18).094 (2.39).040 (1.02).156 (3.96).093 (2.36)-.094 (2.39).062 (1.57).043 (1.09)-.025 (0.64).067 (1.70)
140-1385-04.156 (3.96).125 (3.18).040 (1.02).156 (3.96).093 (2.36)-.094 (2.39).062 (1.57).043 (1.09)-.025 (0.64).067 (1.70)
FigureBasic Part No.LBoard ThicknessL1ABCDD1D2D3FMfg. Hole Diameter
180-2752-01.062 (1.57).031 (0.79)-.188 (4.78).093 (2.36)-.125 (3.18).060 (1.52).042 (1.07)-.029 (0.74).064 (1.63)
180-2752-02.094 (2.39).062 (1.57)-.188 (4.78).093 (2.36)-.125 (3.18).060 (1.52).042 (1.07)-.029 (0.74).064 (1.63)
180-2752-03.125 (3.18).094 (2.39)-.188 (4.78).093 (2.36)-.125 (3.18).060 (1.52).042 (1.07)-.029 (0.74).064 (1.63)
180-2752-04.156 (3.96).125 (3.18)-.188 (4.78).093 (2.36)-.125 (3.18).060 (1.52).042 (1.07)-.029 (0.74).064 (1.63)
180-7338-01.062 (1.57).031 (0.79)-.173 (4.39).093 (2.36)-.094 (2.39).060 (1.52).042 (1.07)-.029 (0.74).064 (1.63)
180-7338-02.094 (2.39).062 (1.57)-.173 (4.39).093 (2.36)-.094 (2.39).060 (1.52).042 (1.07)-.029 (0.74).064 (1.63)
180-7338-03.125 (3.18).094 (2.39)-.173 (4.39).093 (2.36)-.094 (2.39).060 (1.52).042 (1.07)-.029 (0.74).064 (1.63)
180-7338-04.156 (3.96).125 (3.18)-.173 (4.39).093 (2.36)-.094 (2.39).060 (1.52).042 (1.07)-.029 (0.74).064 (1.63)
FigureBasic Part No.LBoard ThicknessL1ABCDD1D2D3FMfg. Hole Diameter
180-2926-01.062 (1.57).031 (0.79).062 (1.57).188 (4.78).093 (2.36)-.125 (3.18).060 (1.52).042 (1.07)-.026 (0.66).064 (1.63)
180-2926-02.094 (2.39).062 (1.57).062 (1.57).188 (4.78).093 (2.36)-.125 (3.18).060 (1.52).042 (1.07)-.026 (0.66).064 (1.63)
180-2926-03.125 (3.18).094 (2.39).062 (1.57).188 (4.78).093 (2.36)-.125 (3.18).060 (1.52).042 (1.07)-.026 (0.66).064 (1.63)
180-2926-04.156 (3.96).125 (3.18).062 (1.57).188 (4.78).093 (2.36)-.125 (3.18).060 (1.52).042 (1.07)-.026 (0.66).064 (1.63)
FigureBasic Part No.LBoard ThicknessL1ABCDD1D2D3FMfg. Hole Diameter
140-1028-01.063 (1.60).031 (0.79)-.188 (4.78).100 (2.54).035 (0.89).125 (3.18).071 (1.80).040 (1.02).071 (1.80).036 (0.91).076 (1.93)
140-1028-02.094 (2.39).062 (1.57)-.188 (4.78).100 (2.54).035 (0.89).125 (3.18).071 (1.80).040 (1.02).071 (1.80).036 (0.91).076 (1.93)
140-1028-03.125 (3.18).094 (2.39)-.188 (4.78).100 (2.54).035 (0.89).125 (3.18).071 (1.80).040 (1.02).071 (1.80).036 (0.91).076 (1.93)
140-1028-04.156 (3.96).125 (3.18)-.188 (4.78).100 (2.54).035 (0.89).125 (3.18).071 (1.80).040 (1.02).071 (1.80).036 (0.91).076 (1.93)
FigureBasic Part No.LBoard ThicknessL1ABCDD1D2D3FMfg. Hole Diameter
140-2187-11.030 (0.76).016 (0.40)-.080 (2.03).032 (0.81).021 (0.53).045 (1.14).032 (0.81)--.015 (0.38).036 (0.91)
140-2187-01.045 (1.14).031 (0.79)-.080 (2.03).032 (0.81).021 (0.53).045 (1.14).032 (0.81)--.015 (0.38).036 (0.91)
140-2187-02.077 (1.96).062 (1.57)-.080 (2.03).032 (0.81).021 (0.53).045 (1.14).032 (0.81)--.015 (0.38).036 (0.91)
140-2187-03.108 (2.74).094 (2.39)-.080 (2.03).032 (0.81).021 (0.53).045 (1.14).032 (0.81)--.015 (0.38).036 (0.91)
140-2187-04.139 (3.53).125 (3.18)-.080 (2.03).032 (0.81).021 (0.53).045 (1.14).032 (0.81)--.015 (0.38).036 (0.91)
Head Office:

Cambion Electronics Ltd., Mill Lane, Castleton, Hope Valley, Derbyshire. S33 8WR. United Kingdom

, Tel: 01433 621555, Registered in England and Wales, Company Registration Number: 00703283